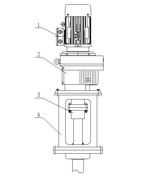
탑 엔트리 교반기
1, 모터:
1、방폭형、비방폭형
2、에너지 효율형、비에너지 효율형
2, 감속기:
1、R 시리즈(동축형)
2、K시리즈(베벨기어형)
3, F 시리즈(평행축형)
3, 커플링:
1、GT 강성 볼록형
2, HL 원통형 핀 유형
4、 프레임:
1、DXJ 단일 지원 유형
2, LDJ 단일 지지 유형(프레임 하단에 기계적 씰 또는 패킹 씰을 추가할 수 있음)
3、FZ 이중 지지형
교반기 매개변수
KEHENG 최고급 교반기는 1989년부터 전 세계 가공 공장이 특정 응용 분야를 충족하는 데 필요한 믹서 및 기타 장비를 찾는 데 도움을 주었습니다.특정 장착, 흐름 패턴 및 혼합 요구 사항을 기반으로 당사는 귀하의 요구 사항에 가장 적합한 최고급 믹서를 선택하는 데 도움을 줄 뿐만 아니라 거의 모든 교반 및 혼합에 대한 맞춤형 솔루션을 제공할 임펠러 설계 및 위치를 제안할 수 있습니다. 프로세스.당사의 영업 엔지니어는 귀하의 처리 작업에 가장 적합한 제품 또는 맞춤형 장비를 결정하기 위해 귀하와 상담할 수 있습니다.
재료
애플리케이션
• 벌크 화학물질
• 고분자
• 특수 화학물질
• 공식 소비재
• 바이오 연료 및 바이오 정제소.
• 석탄화력발전소의 배연탈황
• 습식 공정
• 오일탱크
상단 입구 믹서를 켜기 전에 어떻게 작동합니까?
탑엔트리 믹서가 널리 사용되고 있으나, 탑엔트리 믹서의 작동에 대해 잘 모르는 고객이 많습니다.다음은 탑엔트리 믹서의 작동에 대해 간략하게 소개합니다.
탑 엔트리 믹서 시동 작업
먼저 시작하기 전에 확인해보세요.
1. 모든 패스너가 단단히 연결되어 있는지, 기계(모터 포함)가 제대로 접지되어 있는지 확인하십시오.
2. 모터 케이싱을 포함한 교반기 전체를 깨끗하게 유지해야 합니다.
3. 교반기 임펠러 표면 위의 액체 깊이는 직경(또는 두께)의 1배 이상이어야 합니다.
4. 모터와 배선을 점검하여 시동 조건을 만드십시오.
5. 감속기의 오일 레벨이 오일 미러 라인에 있는지, 특수 오일 캡이 있는지 확인하십시오.
6. 모터는 절연 값을 측정하고 기록합니다.신규 모터를 검사하는 경우에는 품질검사 당사자가 참여해야 하며, 관련 기록서를 작성해야 합니다.'모터 시운전 가이드'를 참조하세요.절연 저항은 절연 저항계를 사용하여 측정됩니다.정격 전압이 36V~500V인 모터용 500V 메가입니다.절연 저항은 0.5메그옴보다 커야 합니다.
7. 교반기를 손으로 움직여 회전이 유연한지 확인합니다.(모터 팬 블레이드를 회전시켜 교반 블레이드를 일주일 동안 움직일 수 있으며 모터 팬 블레이드가 손상되지 않아야 합니다.)
8. 교반기를 조그하고 교반기의 회전 방향이 도면에서 요구하는 회전 방향과 일치하는지 확인합니다(블레이드는 모터 측에 액체 반력을 받습니다).회전 방향이 일치하지 않으면 모터 배선을 변경하여 수정해야 합니다.
둘째, 수술
1. 작동 방향이 올바른 후, 무부하 테스트 작동을 위해 탱크 용량의 약 70%를 교반 탱크에 주입합니다.
2. 시작 후 다음 질문에 주의하세요.
(1) 감속기의 소리와 열은 감속기의 윤활유 온도 상승이 45 °C 이하, 즉 오일 풀의 오일 온도가 85 °C 이하일 것을 요구합니다.
(2) 감속기의 각 인터페이스 부분에 누출 오일이 있는지 여부.
(3) 지지 베어링의 온도가 너무 높은지, 비정상적인 소음이 있는지, 오일 누출이 있는지.모터 온도가 너무 높으면 온도 상승이 75°C를 초과해서는 안 됩니다.
(4) 2시간의 무부하 테스트 실행 후 재료를 적절하게 추가하여 부하 테스트 작업을 수행할 수 있으며 부하 작업은 일반적으로 4시간 이상입니다.
셋째, 참고:
1. 임펠러가 고형물에 묻혀 있거나 탱크에 고형물이 너무 많으면 교반기를 작동하지 마십시오. 그렇지 않으면 손상될 수 있습니다.
2. 탱크에 물이 없을 때 교반기를 작동하지 마십시오. 그렇지 않으면 손상될 수 있습니다.
3. 교반기를 설치했지만 시동이 지연되거나 사이클 사이의 유휴 시간이 깁니다.
Hot Tags: 탑 엔트리 탱크 믹서, 중국 제조 업체, 공급 업체, 공장, 구매, 맞춤형, 견적, 중국 제
탑 엔트리 교반기
1, 모터:
1、방폭형、비방폭형
2、에너지 효율형、비에너지 효율형
2, 감속기:
1、R 시리즈(동축형)
2、K시리즈(베벨기어형)
3, F 시리즈(평행축형)
3, 커플링:
1、GT 강성 볼록형
2, HL 원통형 핀 유형
4、 프레임:
1、DXJ 단일 지원 유형
2, LDJ 단일 지지 유형(프레임 하단에 기계적 씰 또는 패킹 씰을 추가할 수 있음)
3、FZ 이중 지지형
교반기 매개변수
KEHENG 최고급 교반기는 1989년부터 전 세계 가공 공장이 특정 응용 분야를 충족하는 데 필요한 믹서 및 기타 장비를 찾는 데 도움을 주었습니다.특정 장착, 흐름 패턴 및 혼합 요구 사항을 기반으로 당사는 귀하의 요구 사항에 가장 적합한 최고급 믹서를 선택하는 데 도움을 줄 뿐만 아니라 거의 모든 교반 및 혼합에 대한 맞춤형 솔루션을 제공할 임펠러 설계 및 위치를 제안할 수 있습니다. 프로세스.당사의 영업 엔지니어는 귀하의 처리 작업에 가장 적합한 제품 또는 맞춤형 장비를 결정하기 위해 귀하와 상담할 수 있습니다.
재료
애플리케이션
• 벌크 화학물질
• 고분자
• 특수 화학물질
• 공식 소비재
• 바이오 연료 및 바이오 정제소.
• 석탄화력발전소의 배연탈황
• 습식 공정
• 오일탱크
상단 입구 믹서를 켜기 전에 어떻게 작동합니까?
탑엔트리 믹서가 널리 사용되고 있으나, 탑엔트리 믹서의 작동에 대해 잘 모르는 고객이 많습니다.다음은 탑엔트리 믹서의 작동에 대해 간략하게 소개합니다.
탑 엔트리 믹서 시동 작업
먼저 시작하기 전에 확인해보세요.
1. 모든 패스너가 단단히 연결되어 있는지, 기계(모터 포함)가 제대로 접지되어 있는지 확인하십시오.
2. 모터 케이싱을 포함한 교반기 전체를 깨끗하게 유지해야 합니다.
3. 교반기 임펠러 표면 위의 액체 깊이는 직경(또는 두께)의 1배 이상이어야 합니다.
4. 모터와 배선을 점검하여 시동 조건을 만드십시오.
5. 감속기의 오일 레벨이 오일 미러 라인에 있는지, 특수 오일 캡이 있는지 확인하십시오.
6. 모터는 절연 값을 측정하고 기록합니다.신규 모터를 검사하는 경우에는 품질검사 당사자가 참여해야 하며, 관련 기록서를 작성해야 합니다.'모터 시운전 가이드'를 참조하세요.절연 저항은 절연 저항계를 사용하여 측정됩니다.정격 전압이 36V~500V인 모터용 500V 메가입니다.절연 저항은 0.5메그옴보다 커야 합니다.
7. 교반기를 손으로 움직여 회전이 유연한지 확인합니다.(모터 팬 블레이드를 회전시켜 교반 블레이드를 일주일 동안 움직일 수 있으며 모터 팬 블레이드가 손상되지 않아야 합니다.)
8. 교반기를 조그하고 교반기의 회전 방향이 도면에서 요구하는 회전 방향과 일치하는지 확인합니다(블레이드는 모터 측에 액체 반력을 받습니다).회전 방향이 일치하지 않으면 모터 배선을 변경하여 수정해야 합니다.
둘째, 수술
1. 작동 방향이 올바른 후, 무부하 테스트 작동을 위해 탱크 용량의 약 70%를 교반 탱크에 주입합니다.
2. 시작 후 다음 질문에 주의하세요.
(1) 감속기의 소리와 열은 감속기의 윤활유 온도 상승이 45 °C 이하, 즉 오일 풀의 오일 온도가 85 °C 이하일 것을 요구합니다.
(2) 감속기의 각 인터페이스 부분에 누출 오일이 있는지 여부.
(3) 지지 베어링의 온도가 너무 높은지, 비정상적인 소음이 있는지, 오일 누출이 있는지.모터 온도가 너무 높으면 온도 상승이 75°C를 초과해서는 안 됩니다.
(4) 2시간의 무부하 테스트 실행 후 재료를 적절하게 추가하여 부하 테스트 작업을 수행할 수 있으며 부하 작업은 일반적으로 4시간 이상입니다.
셋째, 참고:
1. 임펠러가 고형물에 묻혀 있거나 탱크에 고형물이 너무 많으면 교반기를 작동하지 마십시오. 그렇지 않으면 손상될 수 있습니다.
2. 탱크에 물이 없을 때 교반기를 작동하지 마십시오. 그렇지 않으면 손상될 수 있습니다.
3. 교반기를 설치했지만 시동이 지연되거나 사이클 사이의 유휴 시간이 깁니다.
Hot Tags: 탑 엔트리 탱크 믹서, 중국 제조 업체, 공급 업체, 공장, 구매, 맞춤형, 견적, 중국 제